DISPOSITIVO PORTÁTIL Y MÉTODO PARA LA MEDICIÓN DE GASES CONTAMINANTES

  1. Inventors:
  2. RAFAEL PASTOR VARGAS
  3. ROBERTO HERNANDEZ BERLINCHES
  4. GÓMEZ TOMÉ, Carlos
  5. HORCAS CALVO, Ignacio
  1. Universidad Nacional de Educación a Distancia
    info
    Universidad Nacional de Educación a Distancia

    Madrid, España

    Geographic location of the organization Universidad Nacional de Educación a Distancia
WO
Otras Publicaciones:

WO2023105104A1 (15-06-2023)

Solicitudes:

PCT/ES2022/070778 (05-12-2022)

DISPOSITIVO PORTÁTIL Y MÉTODO PARA LA MEDICIÓN DE GASES CONTAMINANTES

Abstract

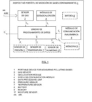
Dispositivo portátil y método para la medición de gases contaminantes. El dispositivo (1) comprende un sensor de gas (2), un módulo de geolocalización (3), un módulo de comunicación inalámbrica (4) y una unidad de procesamiento de datos (5). La unidad de procesamiento de datos (5) está configurada para obtener, del sensor de gas (2), una concentración conjunta (CT) de gases contaminantes (por ejemplo, O3 y NO2); obtener una localización (L) del sensor de gas (2); determinar una o varias estaciones de medición (10) más próximas a la localización (L) del sensor de gas (2); acceder a mediciones de concentración individual (CI) de cada gas contaminante realizadas por las estaciones de medición (10); calcular un porcentaje de concentración individual (%CI) de un gas contaminante y aplicarlo a la concentración conjunta (CT) para obtener una concentración individual (CIL) del gas contaminante correspondiente a la localización (L) del sensor de gas (2).